Установка натяжных потолков
Самостоятельно устанавливать натяжные потолки имеет смысл в том случае, если периметр комнаты простой формы (квадрат, прямоугольник), а на потолке отсутствуют инженерные коммуникации.
В первую очередь необходимо установить декоративно-крепежный профиль. Сначала определяют угол комнаты с наименьшей высотой стен. В этом месте от потолочного перекрытия отступают вниз 1–2 см и ставят метку фломастером. Небольшое расстояние от потолка до крепежного профиля создаст необходимые для работы инструментами условия. С этой метки ведут все дальнейшие расчеты при установке натяжного потолка. Соответствующие метки делают в остальных углах помещения. Затем с помощью шнура метки соединяют и создают линию нулевого отсчета по периметру комнаты. Она должна быть строго горизонтальной, что проверяют с помощью уровнемера. По этой линии закрепляют багет.
Чтобы создать линию для установки багета, в каждом углу комнаты в помеченном месте вбивают гвоздь и привязывают к нему шнур. Другой конец шнура сильно натягивают и привязывают к гвоздю в соседнем углу. После этого по шнуру проходят цветным мелом и переносят краситель на стену. Для этого достаточно оттянуть шнур от стены и резко отпустить. В результате шнур ударяет по стене и оставляет на ней меловую линию. Аналогичным образом делают линии нулевого отсчета на всех стенах, в результате получается горизонтальная линия по всему периметру комнаты. Ориентируясь на эту линию и устанавливают крепежный профиль (багет).
Далее измеряют каждый угол помещения, для того чтобы ровно стыковать багеты. Размер углов определяют с помощью гониометра. Каждое значение удобно сразу записывать карандашом непосредственно на потолке.
После определения линии нулевого отсчета и размеров углов в помещении можно приступать к установке багетов. Сначала рулеткой надо измерить длину стен и отмерить багет необходимой длины. Стандартные багеты обычно имеют длину 3–4 м, поэтому они могут оказаться длинней или короче стены. Также срезы бывают сделанными не под тем углом, который нужен.
Если багет длинный, то его обрезают маятниковой пилой под углом. При этом размер отклонения от перпендикуляра багета равен половине размера угла комнаты. Далее багет закрепляют на стене таким образом, чтобы его верхний край совпадал с линией нулевого отсчета.
Если багет оказался короче, чем стена, то его концы запиливают по-разному. С одной стороны это делают уже описанным способом, а с другой – под углом 90°. На недостающую длину отмеряют еще багет и аналогично запиливают его концы. Острый угол багета должен соответствовать половине размера второго угла комнаты. Прямыми срезами два отрезка багетов состыковывают и склеивают.

Рисунок 1. Прикрепленный профиль-багет на стенах комнаты
После того как багеты для каждой стены заготовлены, их начинают устанавливать строго по горизонтальной линии. На стену багеты крепят разными способами. Можно сделать это при помощи пневматического пистолета со специальными гвоздями или скрепками либо при помощи саморезов и дюбелей. Между креплением расстояние делают не более 8 см. От края багета (в том числе в области стыков) отступают 1 см. При такой частоте крепления к стене багет прочно держится и выдерживает натяжной потолок. После того как багеты будут установлены на каждой стене, необходимо уровнемером проверить их горизонтальность. Допустимое отклонение от линии нулевого отсчета – не более 2 мм (рис. 1).
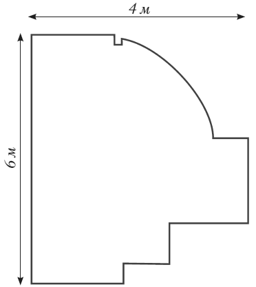
Далее на потолке устанавливают крючки для крепления светильников. После этого начинают работу с натяжным полотном. Оно может быть цельным или состоящим из полос полихлорвиниловой пленки. По форме и размерам полотно должно точно соответствовать потолку помещения. Кроят полотно для натяжных потолков по выкройкам, сделанным на основе чертежей помещения. При этом нужно учесть все особенности помещения – нестандартные углы, выступы, длину каждой стены, наличие технических коммуникаций на потолке и др. Все замеры для чертежей и раскрой материала правильно могут сделать только специалисты, так как в этой работе существует много тонкостей. Если размеры на чертежах окажутся неточными, то установить натяжной потолок будет сложно или он окажется с дефектами (провисанием или перекосом полотна). Особенно важно это для потолка большой площади (рис. 2).

Рисунок 2. Выкройка натяжного потолка
Рулоны с виниловой пленкой чаще всего производители выпускают стандартной ширины – 1,3–2,2 м. Для более широкого полотна на производстве несколько полотнищ соединяют по специальной технологии (сваривают) с образованием малозаметного шва. Далее отрезают полотно необходимой длины и ширины. Если полотно предназначено для крепления гарпунным способом, то его длину и ширину делают на 7 % меньше, чем аналогичные размеры потолка в помещении. По краю полотна приваривают полихлорвиниловый кант (гарпун). Именно с его помощью полотно закрепляют в багете на специальный выступ. Гарпун прочно входит в крепежный профиль и натягивает полотно.
Если полотно предназначено для багета со штапиковым или клиновым креплением, то его размеры должны на 10 см с каждой стороны превышать размеры потолка в помещении.
Выкроенное полотно очищают специальными моющими средствами, сворачивают, используя прокладки между слоями, и затем заворачивают в теплоизолирующую пленку. Именно в таком виде производитель поставляет натяжное полотно фирме-установщику.
После того как багеты уже размещены на стенах помещения, можно вызвать специалистов из соответствующей фирмы, которые профессионально закрепят натяжное полотно. Они к оговоренному времени доставят пакет с потолочным полотном и тепловую пушку.
Далее рассматривается установка натяжного потолка гарпунным способом. Преимущество этого потолка заключается в том, что в случае необходимости его можно демонтировать и собрать вновь, можно отремонтировать или заменить полотно. Натяжное полотно с другими видами крепления чаще всего приходится заменять полностью.
При монтаже натяжного потолка важно правильно развернуть полотно. Прежде чем это сделать, воздух в помещении с помощью тепловой пушки нагревают до температуры 40 °C. Если в помещении находятся предметы или комнатные растения, которые могут пострадать от нагревания, то их предварительно выносят или накрывают полиэтиленовой пленкой. Установленный температурный режим поддерживают в течение всего времени монтажа натяжного потолка. Только в этом случае полотно будет натянуто идеально ровно.
После прогревания помещения пакет с полотном вскрывают. Полотно разворачивают с соблюдением определенных правил. Сначала в углах комнаты на петлях из веревки подвешивают пружинные струбцины клещеобразной формы (крокодилы). Затем губки струбцин оборачивают прокладочным материалом из пакета в 2–3 слоя. Полотно разворачивают очень осторожно, по схеме. Сначала открывают базовый угол натяжного полотна (он помечен на упаковке) и за короткое время прогревают его в потоке тепла от пушки. Не следует близко подносить полотно к пушке. После этого струбциной фиксируют гарпун (рис. 3).

Рисунок 3. Порядок развертывания базового угла полотна
Далее можно развернуть второй угол натяжного полотна и тоже закрепить его струбциной в диагонально противоположном углу комнаты (рис. 4).

Рисунок 4. Крепление второго угла полотна
Аналогичным образом продолжают разворачивать полотно и фиксируют еще два угла с помощью струбцин в других диагонально противоположных углах комнаты (рис. 5).

Рисунок 5. Крепление остальных углов полотна
В результате потолочное полотно полностью развернуто и всеми углами прикреплено к углам комнаты. В таком виде его нужно прогреть до определенного состояния. Тем временем можно проверить, верно ли расположено полотно (направление, сторона). Если полотно подвешено правильно, то приступают к закреплению его боковых сторон. Крепление к багету начинают вести от угла комнаты к середине стены.
К завершению этой работы полотно должно прогреться до 60 °C. Насколько прогрето полотно, определяет специалист по установке натяжного потолка на основании своего опыта. Если полотно еще не готово, то оно с трудом натягивается и закреплять его сложно. Перегретое полотно может потерять глянцевый блеск. В меру прогретое полотно хорошо натягивается и прочно закрепляется в багете с помощью гарпуна. После того как полотно будет натянуто во все стороны и остынет, потолок примет задуманный вид.
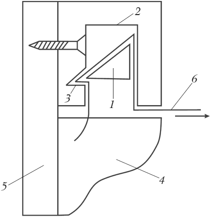
Приступать к закреплению полотна в багете можно с любого угла. Сначала угол полотна отсоединяют от струбцин, затем гарпун насаживают на угловую лопатку и с ее помощью надевают на соответствующий выступ багета. Пальцами левой руки можно помогать в зацепке гарпуна. После того как полотно будет закреплено в углу комнаты, нужно взять плоскую лопатку.
С ее помощью продолжают устанавливать гарпун в багет в разные стороны от угла. В каждую сторону необходимо закрепить гарпун не менее чем в двух замках на багете (рис. 6).

Рисунок 6. Гарпунный способ установки натяжных потолков
Точно так же с помощью угловой лопатки натягивают полотно и цепляют гарпун к багету в диагонально противоположном углу комнаты. Затем плоской лопаткой крепят гарпун от угла вдоль стены в каждую сторону. С каждым разом закреплять угол полотна становится все труднее, так как требуется больше его натягивать и прилагать усилий.
После фиксации всех углов потолочного полотна начинают закреплять его стороны. С помощью плоской лопатки сделать это достаточно легко. В первую очередь рекомендуется зацепить в замках те части полотна, где проходят швы. Это предотвратит искривления швов и деформацию полотна. После этого закрепляют на 2–3 замка в багете середины провисающих частей полотна. Таким образом полотно продолжают закреплять вдоль каждой стены. После того как останутся свободные участки полотна небольшого размера (менее 1 м), закрепить их середину не составит труда. Далее выполняют окончательное закрепление гарпуна по всему периметру потолка. Обязательно надо проверить качество крепления гарпуна. Если в каком-либо месте он зацеплен не полностью, то следует исправить крепление. При правильном закреплении гарпуна полотно плотно натянуто на багет, выглядит ровно и красиво.
В штапиковых багетах полотно закрепляют с помощью распорного профиля (клина) (рис. 7). После этого свободно свисающие края полотна подрезают.

Рисунок 7. Штапиковый способ крепления полотна
При установке натяжных потолков в помещениях с большой площадью (более 50 м2) используют дополнительно ребра жесткости. В этом случае обширное потолочное полотно не провиснет и будет всегда хорошо натянутым.
Далее остается только установить светильники. Для этого сначала подготавливают теплоизоляционное усилительное кольцо. Его толщина обычно 3–4 мм, а диаметр зависит от параметров светильника. Чаша светильника должна полностью прикрывать это кольцо. Кольцо должно легко пропускать потолочный крюк для светильника. Ширина кольца обычно составляет не менее 5 мм. Такое кольцо легко изготовить из пластика (рис. 8).
Этапы проведения работ. Современные потолки своими руками. Рисунок 8. Монтаж светильника на натяжном потолке
Усилительное кольцо наклеивают на натяжной потолок таким образом, чтобы центр его отверстия совпадал с местом подвешивания светильника. Положение крюка для светильника можно определить через натяжное полотно на ощупь и отметить фломастером. Затем остается только нанести на пластиковое кольцо цианоакрилатный клей и приложить его к полотну в нужном месте. Чтобы кольцо хорошо приклеилось, а полотно не морщилось и впоследствии не расползалось, полоска клея на кольце обязательно должна быть непрерывной. Надо дождаться высыхания клея и убедиться, что кольцо приклеилось. С помощью острого обойного ножа делают отверстие в полотне по внутреннему краю кольца. В это отверстие вытягивают электропровод для подсоединения к светильнику. После этого подвешивают осветительный прибор на крюке. При необходимости крепеж для светильника можно удлинить.
В настоящее время наибольшей популярностью пользуются французские натяжные потолки. Они отличаются оптимальным сочетанием цены и качества, красивы, а так же подходят для различных дизайнерских решений.
Таким образом проводятся основные работы по установке простого натяжного потолка. Далее остается только установить декоративные заглушки, которые будут скрывать багеты.
Если натяжной потолок устанавливается в помещении нестандартной формы или с наличием технических конструкций на потолке и стенах рядом с ним, то такая работа сложна и может быть выполнена только опытным специалистом. В этом случае натяжное полотно изготавливают из нескольких частей. Во время монтажных работ его закрепляют в иной последовательности с использованием промежуточных опор. При этом место соединения отдельных полотен не отличается от обычного сварочного шва. Потолки сложной конфигурации также будут сложны для монтажа без соответствующего опыта.
Натяжные тканевые потолки имеют некоторые особенности по сравнению с виниловыми пленочными. Их поверхность шероховатая, с перфорацией, и поэтому хорошо проницаема для воздуха. Такие потолки более экологичны и устойчивы к физическим факторам.
Тканевые натяжные потолки предпочтительны для детских комнат. Они практичны и эстетичны. В комнате сохраняется хорошая аэрация и не создается парниковый эффект, а звукоизоляция повышается до 90 %. Значительные перепады температуры и влажности воздуха такими потолкам не страшны.
Тканевое полотно отличается большими размерами и в комнате с длиной стен до 5,1 м можно сделать бесшовный потолок. Материал имеет хорошую эластичность и позволяет создавать на потолке многоуровневые оригинальные конструкции, в том числе разнообразные арки. По структуре потолочная ткань представляет собой трикотаж из тонкой нити. Уход за тканевым полотном прост– периодически его протирают сухой фланелевой тряпочкой.
Потолки из полиэфирной ткани выглядят великолепно. Их установка отличается от установки виниловых натяжных потолков. При этом нет необходимости прогревать полотно и помещение, поэтому тепловая пушка при монтажных работах не используется. Работы по установке таких потолков занимают меньше времени.
После закрепления на стенах багета начинают прикреплять полотно. Делают это сначала с боковых сторон и только потом по углам. При этом используют иные способы крепления.
Чаще всего тканевое полотно закрепляют на багетах с клипсами. Это так называемый кулачковый способ крепления. Полотно плотно зажимается в кулачках-клипсах, которые блокируются при попытке вытянуть его обратно. При клипсовых багетах высота свободного пространства над натяжным полотном не превышает 1 см, что позволяет устанавливать натяжные потолки в низких помещениях.
Натяжные тканевые потолки дают возможность легко установить осветительные приборы. Светильники, как и в предыдущем случае, прикрепляют к потолочному перекрытию, а доступ к крюку и электропроводке обеспечивают через отверстие с усилительным кольцом.
Для отделки натяжного потолка используют декоративные элементы. Дизайнерская фантазия способна создать оригинальный и даже эксклюзивный интерьер. Потолок можно украсить художественной росписью или заказать полотно с фотопечатью. Эти варианты отделки потолка становятся все более популярными. Особенно хороши они при цветовом решении, соответствующем общему стилю помещения. Допускается окрашивание тканевого натяжного потолка пять и даже более раз.
